Трансформатор сухий ТС-35/038М-3 застосовується в пасажирських залізничних вагонах для живлення електрообладнання на стоянках від зовнішньої мережі 380В 50Гц.
ОСНОВНІ ТЕХНІЧНІ ДАНІ
Основні характеристики | Значення |
Габаритна потужність, кВА | 35 |
Номінальна потужність, кВА | 35 |
Охолодження | повітряне |
Частота мережі, Гц | 50 |
Напруга боку ВН, В | 660 |
Напруга боку ПН, В | 105 |
Схема з’єднання | Y-0/Y |
Випробувальні напруги, кВ | 3 |
Клас нагрівостійкості ізоляції | Н (180 ° С) |
Ступінь захисту | IP00 |
Матеріал обмоток | Аl/Al |
Температура довкілля, | °С -40+50 |
Струм х.х, % | 4 |
Втрати х.х, Вт | 240 |
Напруга к.з., % | 4 |
Коригований рівень звукової потужності, дБ(А) | 50 |
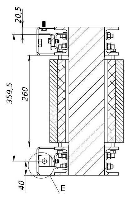
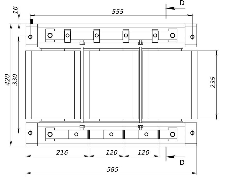
Габаритні розміри ШхГхВ, не більше, мм | 585x245x420 |
Маса, не більше, кг | 180 |
Гарантійний термін експлуатації – 12 місяців із моменту введення в експлуатацію, але не більше 18 місяців з моменту продажу.
Гарантійні зобов’язання:
Протягом гарантійного терміну, зазначеного в гарантійному талоні, виробник забезпечує безкоштовний ремонт та заміну запчастин у разі виявлення дефектів матеріалу та виготовлення.
Гарантія дійсна при пред’явленні гарантійного талона паспорта на виріб та за наявності друку.
Покупець має право на гарантійний ремонт лише в період гарантії та за наявності наступних умов:
а) технічна несправність (тобто невідповідність технічним умовам фірми- виробника на цей виріб).
б) несправність виникла з вини заводу-виробника, а чи не внаслідок неправильної експлуатації.
Виріб не приймається у гарантійний ремонт у таких випадках:
а) при пошкодженні через неправильну експлуатацію, пожежу, а також інші зовнішні фактори, що впливають.
б) не повної комплектації.
в) за відсутності гарантійного талона.
Претензії щодо комплектації та якості не приймаються, якщо в період дії гарантійних зобов’язань трансформатор сухий ТС-35/038М-3 піддавався Не гарантійному ремонту.
Габаритні розміри








Відгуки
Відгуків немає, поки що.